Da ist kein Innenzelt. Da ist die Apside hochgeschlagen, denke ich
Wo siehst du die denn?
Da ist kein Innenzelt. Da ist die Apside hochgeschlagen, denke ich
Wo siehst du die denn?
Sorry, war auf dem link
Gerade auf Kickstarter die neue "Light" Version des allseits bekannten Haven Tents entdeckt. Soll wohl 1,9 kg mit Fly und Isomatte wiegen, "Light" ist es dadurch aber trotzdem nicht. Kann man auch als Zelt mit Trekkingstöcken benutzen.
Vielleicht trotzdem für einige interessant.
https://www.kickstarter.com/projects/haventents/the-haven-spectre-by-haven-tents
Der Catch vom Video ist: damit man in Zukunft wieder eine ganze Zahnbürste mitnehmen kann... Ich lass das mal Kommentarlos so stehen.
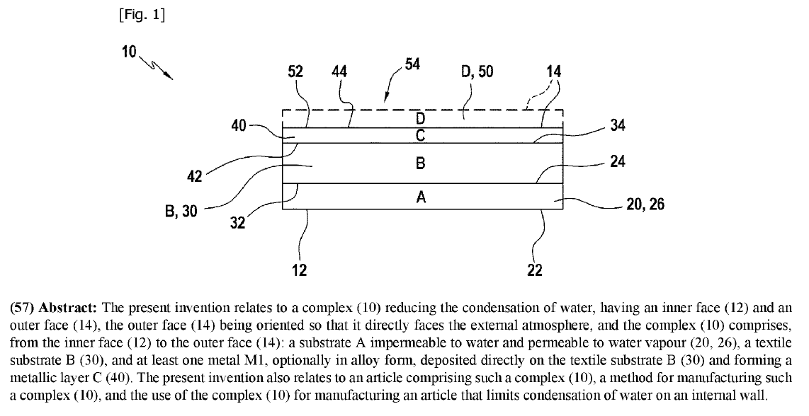
Also, die haben ein Patent angemeldet, und ein Patent ist ja öffentlich.
Direkter link zum Patent.
Die 38-seitige Patentanmeldung kann als PDF heruntergeladen werden. (Veröffentlichte internationale Anmeldung - A1, in Französisch)
So wie ich das verstehe, wird unter anderem eine Wasserdampf-durchlässige Membran auf das Gewebe aufgetragen.
Zusätzlich wird von innen eine extrem dünne Metallschicht aufgedampft.
Ich habe nur auszugsweise in die Patentanmeldung hineingelesen. Das ist ein technisch hochkomplexer industrieller Fertigungsprozess.
Ketzerisch stelle ich mir hier die Sinnfrage.
(Energie, und Materialaufwand, sowie die Entsorgung des Sondermülls).
Aktuell steht bei uns im Garten ein 20 Jahre altes Spatz-Zelt. Ja, es ist sackschwer, aber das relativ dünne Baumwollmaterial bietet genau diese Performance und trocknet auch noch deutlich schneller als das Nylon Tarp, was daneben steht.
VG. -wilbo-
naja, Simond war ja eine etablierte Outdoor Marke, die irgendwann von Decathlon gekauft wurde
Das ist schon 2008 passiert, und die Marke ist voll in Decathlon integriert. Ausserdem war die Spezialität von Simond eher Metallverarbeitung (Eispickel, Steigeisen). Die Komponente Textil kommt definitiv von Decathlon selbst.
Kann sich von euch jemand erklären, in welcher Welt dieses Zelt ein Singlewall ist?
Wie du vermutest, es sind die vermutlich falsche Fotos auf der Produktseite gelandet.
wilbo : Sinnhaftigkeit ist bei vielem unserer Outdoorsachen in Frage zu stellen. Dyneema, Ultra, Nylon, alles hinterlässt Mikroplastik in der Natur. Da das Zelt relativ günstig bleibt, kann es auch gar nicht so aufwendig bzw. Energieaufwendig sein. Die Metallbeschichtung ist auch ein alter Hut (jede Rettungsdecke hat es auch). Was sicher übrig bleibt ist die Membran bzw. eine Komponente, die Wasserdicht und Wasserdampfdurchlässig ist. Leider ist alles so generell formuliert, dass man nicht genau weiss, was da verwendet wird. Im Patent wird von einer Membran aus PU, PTFE oder PEO (Polyethylenoxyd) gesprochen, oder einer Behandlung des Stoffes mit einem flüssigen Polymer (PU, Polyacryl, oder Polyester). Das ist Absicht, um das Konzept möglichst breit zu schützen.
Hab ich auch schon gesehen. Macht nen guten Eindr wobei ich den Namen schon frech finde ![]()
Hab ich auch schon gesehen. Macht nen guten Eindr wobei ich den Namen schon frech finde
Naja, so ehrt man den Meister den man versucht hat zu übertreffen, oder?
Aber ganz ehrlich, ich hab das Enan, und hab mir EXAKT das gleiche gedacht ---- ob man da nicht irgendwie mehr Luft rein bekommt..... Weil sonst ist das Zelt einfach super
TFS ENRAN 2 Tent | First Impressions von Andrew Park
Witzig, ein Enan aus 7d Silnylon oder solidem 10d Silpoly.
Zum Glück gibt's ein "4 seasons inner". Ich würde sagen Campingzelt, daher deutlich geräumiger als das Enan, aber völlig anderer Einsatzzweck. Nach den ernüchternden Materialtests von wilbo würde ich damit jedenfalls nicht nach Skandinavien gehen. Und dann gibt's wieder besseres bezüglich Preis, Gewicht, Platzangebot.
https://www.youtube.com/watch?v=q8sRORMIRkQ es gibt ein kleines Preview Video zum DCF Decathlon Zelt. Soweit nichts spannendes neues, aber offensichtlich arbeiten sie auch an einem Quilt. Derzeit scheint da vieles in die richtige Richtung zu gehen.
Decathlon/Simond bietet dann wohl auch ein Dyneema-Zelt an:
Definiere "dann"! Und was unterscheidet Deinen Beitrag vom dem vorhergehenden?
Laminatkuppelzelte sind der neue Trend, jetzt auch bei HMG:
Laminatkuppelzelte sind der neue Trend, jetzt auch bei HMG:
Schäppchen
950 Dollar oder dann bestimmt 1300€ in Deutschland
Laminatkuppelzelte sind der neue Trend, jetzt auch bei HMG: CrossPeak 2
Danke fürs Teilen! Sieht auf den ersten Blick nach einem schlichten Kuppelzelt (ähnlich dem Portal von Slingfin) für gemäßigtes Wetter aus
Was mich persönlich stören würde, wäre das Einfädeln der Stangen an der "Spitze". Warum sind die Kanäle nicht durchgehend? Ich finde aber, dass die restlichen Details ganz gut aufeinander abgestimmt sind.
Habt ihr auch das Gefühl, dass das mittlerweile alles ein bisschen albern wird mit dem Marketing und Trendhopping? Vielleicht war das schon immer so und es ist mir bis jetzt einfach nicht so sehr aufgefallen.
Key Features:
- The 20D Sil-nylon pole sleeves and superb guy out points provide a stronger and more storm worthy structure than plastic clip designs.
- Strong aluminum DAC Featherlite NFL 8.7mm poles outperform carbon poles with a negligible weight penalty.
Wenn das so weitergeht, sind wir bald wieder bei Tunnelzelten angekommen (aus DCF natürlich) ![]()
war das schon immer so ...
Tatsächlich war schon immer das Neue der Feind vom Guten. ![]()
Es gibt leider sehr wenige Hersteller, die sich der steten Verbesserung ihrer Serie verschrieben haben. Meist wird jedes Jahr was vermeintlich neues herausgebracht und vom Marketing aufpoliert.
... und es ist mir bis jetzt einfach nicht so sehr aufgefallen.
Je tiefer man in einen funktionalen Sachzusammenhang einsteigt, umso klarer wird es, was für eine bestimmte Konstruktion wirklich notwendig ist. Damit geht einher, dass oberflächliches Design und Marketing-Gewäsch für einen selbst deutlich hervortritt.
HMG ist sich für den UL Kuppel Hype natürlich auch nicht zu schade - hier die entsprechende me2 HMG Version - der HMG Preis dagegen eher einzigartig. ![]()
Klar, dass da Leinen noch mal 20$ extra kosten. ![]()
Tatsächlich war schon immer das Neue der Feind vom Guten.
Toller Spruch, kannte ich noch nicht. Da werde ich dich bei Gelegenheit zitieren!![]()
Toller Spruch, kannte ich noch nicht. Da werde ich dich bei Gelegenheit zitieren!
Ich kenne den in etwas anderer Form: "Das Bessere ist der Feind des Guten." Stammt laut Wikipedia aus dem Italienischen https://de.wikipedia.org/wiki/Liste_gef…Feind_des_Guten
Das 'Original' kannte ich auch, aber Wilbos Variante hat IMHO einen schönen "Twist".
Das 2er von Durston kann vorbestellt werden:https://durstongear.com/products/x-dome-2-ultralight-tent
Du hast noch kein Benutzerkonto auf unserer Seite? Registriere dich kostenlos und nimm an unserer Community teil!